新版阿里云企业邮件归档说明及使用方法(最新版)
发布时间:2021-12-10 16:17:51
背景
电子邮件作为企业沟通内外的手段,随着使用率的不断提升,企业将邮件数据视作重点保护对象。相较于以往的电子邮件多以备份为主,使得企业浪费了大量存储资源和后续的数据调阅时间,大大增加了企业的营运成本和风险。通过邮件归档,可以大大的降低营运成本和风险,从而可以有效的长期保存并使用电子邮件,用户可以自主选择是否开启邮件归档功能,并可以基于邮箱帐号、发件人、收件人、关键字和时间区间进行查询,提供查询结果的导出和甚至于作为有效的法律依据。且邮件归档是对企业用户邮箱在业务开展过程中,对邮件内容进行集中归档,并根据相关法律法规进行一定时期的保留,在需要的时候可以通过对归档邮件的查找,并可以导出需要的邮件,获取历史邮件信息或者用作诉讼证据。
概述
在此背景下,阿里云企业邮箱推出了“邮件归档服务”,对邮件数据进行在线归档、分类管理、归档邮件查询、邮件数据长期保存。
塞班斯法案-奥克斯利法案
萨班斯-奥克斯利法案是美国立法机构根据安然有限公司、世界通讯公司等财务欺诈事件破产暴露出来的公司和证券监管问题所立的监管法规,简称《SOX法案》或《索克思法案》。
美国出台的《塞班斯法案》本质上是为了保护在证券市场上的投资者,而最初的邮件归档正式参考了塞班斯法案对企业电子邮件存档相关举措,随着市场和监管体制的不断完善,电子邮件来往的实时记录和长久保存以及不被篡改的归档服务,为企业带来了可靠的数据依存,甚至邮件可以成为法律证据。
中国塞班斯法
为了保证数据信息的完整性和可用性,2005年国家档案局发布相关文档,规定了公务电子邮件的撰写、传递、鉴定、归档、整理、移交与保管等规范化程序与管理规则。以及2008年6月28日,国家财政部、证监会、审计署、银监会、保监会联合发布了《企业内部控制基本规范》,强烈规范企业单位必须提供保存营运资料以及降低营运风险相关措施。
1、开通邮件归档功能
付费的阿里企业邮箱用户可免费使用阿里云企业邮箱的邮件归档服务,仅归档管理员可以开启/关闭邮件归档功能,以及进行归档邮件的查询,归档三方接口开启等,postmaster账号默认情况下没有归档功能相关权限,超级管理员可以给用户分配归档管理员权限,创建归档管理员,超级管理员或者归档管理员可以通过“统计与日志-归档日志查询”,进行审计日志的查询。
①邮件归档服务默认关闭,需登录归档管理员账户,进去管理后台-“邮件归档”-选择“归档邮件管理”-打开“邮件归档服务”。

②归档信息概要

可开通归档邮箱:企业可以开通邮件归档服务的邮箱总数
已开通归档邮箱:企业已经开通邮件归档服务的邮箱数
归档保留年限:邮件归档服保存年限默认5年
上次开启时间:邮件归档服务最近一次开启时间
上次关闭时间:邮件归档服务最近一次关闭时间
归档管理员:邮件归档服务管理员名称
归档状态:归档服务目前所处状态
③查询归档邮件
查询归档邮件:进入域管理界面,点击“高级应用”-“邮件归档”-“查询邮件归档”,输入需要查询邮件邮箱的完整地址和时间范围,点击查询即可

查询条件解释:
归档邮箱:指查询归档的邮箱帐号,这是必填项;
发件地址:归档邮件的发件人;
收件地址:归档邮件的收件人;
关键字:搜索邮件的关键字条件,通过“搜索关键字范围”限定范围;
时间范围:搜索的归档邮件的时间范围;
关键字范围:可以选择主题,正文,附件标题;
邮箱状态:对于重名的归档邮箱,比如以前的归档帐号离职了,帐号删除后,又建了一个一样账号的邮箱,通过该状态删除时间进行区别;
④.查看、导出归档邮件
查看归档邮件:进入域管理界面,点击“高级应用”-“邮件归档”-“查询邮件归档”,输入需要查询邮件邮箱的完整地址和时间范围,根据收发件地址、关键字进行查询后,点击查看即可看到邮件具体内容

⑤.管理设置归档账号POP3密码
设置POP3密码:进入域管理界面,点击“高级应用”-“邮件归档”-“三方归档对接”-开启“邮件归档POP3服务”-输入密码-点击“保存”

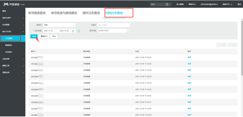
⑥.归档日志查询
查询归档日志:进入域管理界面,点击“统计与日志”-“行为查询”-“归档日志查询”,选择管理员和时间范围,根据关键字和操作类型进行精准查询

说明
阿里企业邮箱归档服务有效期5年,即在阿里企业邮箱服务内的用户,邮件归档最长保存近5年,超过期限的归档邮件会被自动删除。归档服务随邮箱服务终止,所有归档邮件会被删除,不再继续保存
2)归档细则
·单独发送的邮件只归档一封邮件
·同时给多人发送的邮件只归档一封
·分别给多人发送的邮件归档多封
·监控的邮件不归档
·自动转发、自动回复、垃圾邮件进行归档
·规则自动删除邮件进行归档
·系统通知邮件进行归档
·外发限制的用户给外域账号或内部账号发邮件,发送成功的进行归档
·外域给外收限制外收限制账户发邮件,未接收成功的不归档
·删除或被禁用的邮箱账户中的邮件依然被归档
·用户删除的邮件依然被归档
·只有管理员可以查看归档邮件,关闭邮件归档服务后,用户新邮件将不再归档保存,历史归档的邮件在归档期限内会保存。
·邮件归档服务可下载/批量下载和查看邮件
·邮件归档服务不支持下载及查看归档邮件中的附件,不可删除归档邮件
·支持归档服务的操作日志记录
·支持第三方归档服务
如还有其他的问题,可随时联系88体育app下载或在线咨询或服务热线。